Our patented innovations enable a 35% smaller and lighter gun than is currently available on the market.We achieved this while reducing the number of parts from over 100 in conventional guns to just 15, while delivering a 25% boost in power using 30% less air.The international construction industry is a multi-trillion p/a market and one of the fastest growing, with nail guns being an essential part of the tool kit. Our patented technology can potentially be used outside the nail gun industry as well:
Simplification of production lines, in industries including pharmaceutical, confectionary, vehicle manufacturing
Air brake systems on large vehicles such as trucks and buses
General pneumatic tools, impact hammers, wrenches, jack hammers etc
Airplane landing gear plus many other parts of planes that run on pneumatics
Formula One and all competitive high-end race cars
America’s Cup and all competitive yachting

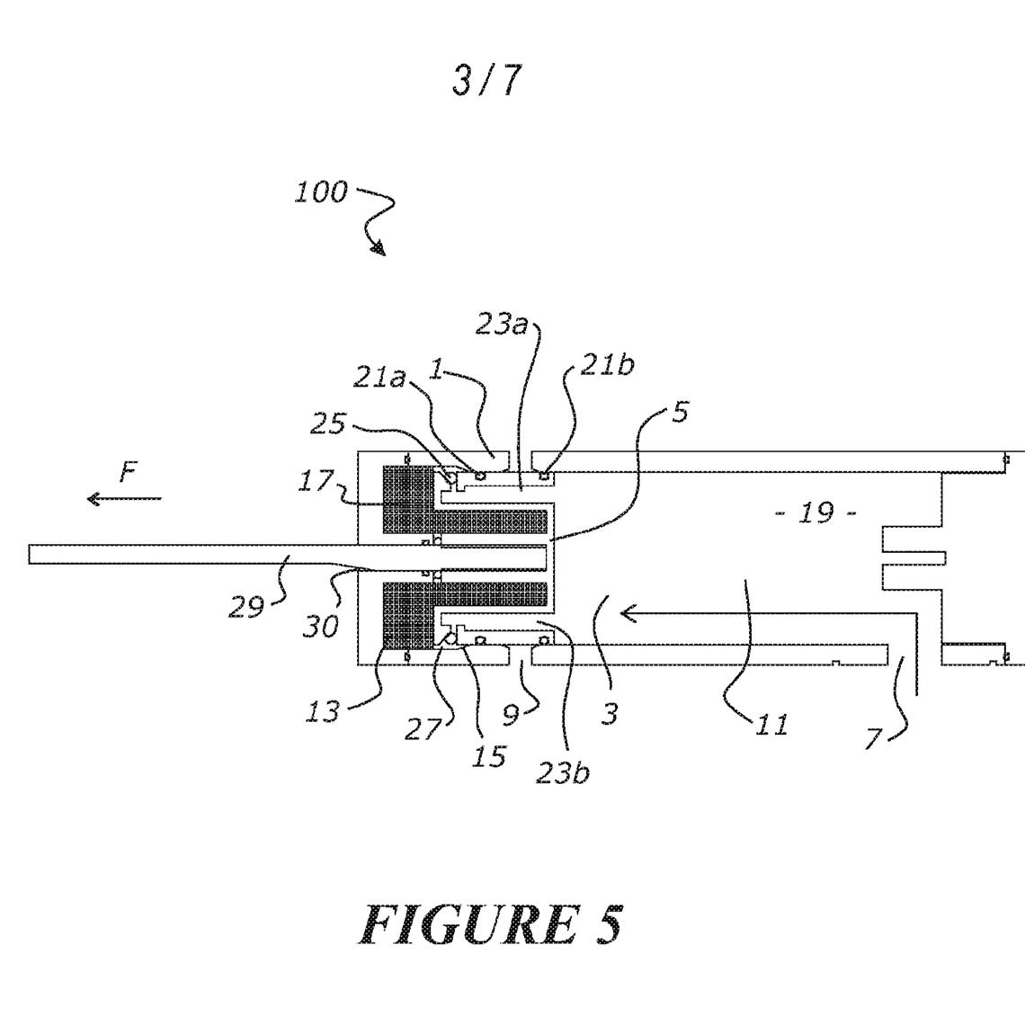
We started from the beginning with a blank sheet of paper.After five years of testing and redesigning, our prototype is market-ready.

Originally designed in the 1950s, all nail guns on the market follow a standard build and design.Our ground-breaking design is here to change the game.

The nail gun industry is worth $25 billion annually.Our gun is 35% smaller and lighter than conventional guns and yet has more power. You do the math.
S-Gun is proudly based and registered in New Zealand (NZBN: 9429036650439).
Our engineering consultant Ben Small leds our research and development efforts. Ben first qualified as an aerospace technician before moving into the military aircraft industry.Director Jon Batt operates the day to day, establishing relationships with international tool manufacturers, overseeing design and production, and investor relations.
Our intellectual property is well protected - we are supported by patent attorneys AJ Park.Our major innovation already confirmed internationally through the Patent Cooperation Treaty (PCT), and two further innovations borne of our journey are in the IP pipeline now.
The video below shows how our innovative new design works, and the improvements over traditional nail guns.
Design and test is done. Our prototypes are in market.
Our first goal is to licence or sell our current invention suite. We're open to a number of options on this, and are actively progressing with potential customers now.When we met our first goal, we have a series of other ideas and inventions based on our journey so far, which can be funded from the initial sale, once complete.
Take a look at the prototype in action in the video below.
Email Jon at [email protected] or use this form.
© S-Gun Limited 2024. All rights reserved.
Site by easily.co.nz